I. Overview of US Stock Index Options
Trading volume in the US stock index options market is currently rising, while the put/call ratio has slightly declined.
The volume distribution of S&P 500 index options expiring today shows a divergence between call and put order distributions, with put orders peaking at 6780 points and call orders peaking at 6825 points.
Nasdaq contracts expiring today 100 Index Options Trading Volume Distribution: Call single peak at 25100, Put single peak at 24600.
II. US Stock Options Trading Volume Ranking
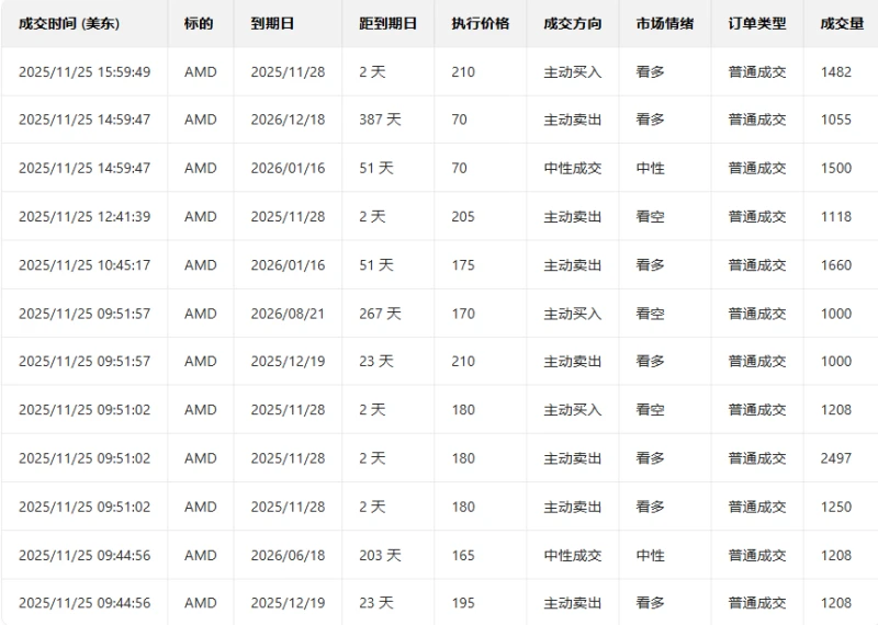
1. Advanced Micro Devices (AMD) fell 4.15% in the previous trading day, with the put/call ratio rising and trading volume increasing the day before.
Observe the put orders expiring this Friday; many have doubled in value.

Observe the large orders with unusual activity in options trading; it appears that large investors were mostly bullish before the market closed.

2. Strategy fell 3.835% in the previous trading day, with the put/call ratio declining and trading volume increasing the day before.
Observe the large orders with unusual activity in options trading; it appears that large investors were mostly bullish before the market closed.

Top 10 US Stock Options Trading Volume Ranking

Top 10 US Stock Options Trading Volume Ranking

III. Top Ten US Stock ETF Options Trading Volume Ranking

Top 10 US Stock ETFs by Implied Volatility (Based on: Market Cap > $10 billion)

(Article source: Hafu Securities) )