I. Overview of US Stock Index Options
Trading volume in the US stock index options market has increased slightly, while the put/call ratio has declined, indicating that short sellers have somewhat withdrawn.
The volume distribution of S&P 500 index options expiring today shows a divergence between call and put order distributions, with put orders peaking at 6800 points and call orders peaking at 6685 points.
Nasdaq contracts expiring today 100 Index Options Trading Volume Distribution: Call single peak at 25700, Put single peak at 25000 points.
II. US Stock Options Trading Volume Ranking
1. Nvidia The stock fell 3.96% in the previous trading day. The put/call ratio declined slightly the day before, and trading volume also declined slightly.
Observing the put orders expiring this Friday, many options have doubled in value.

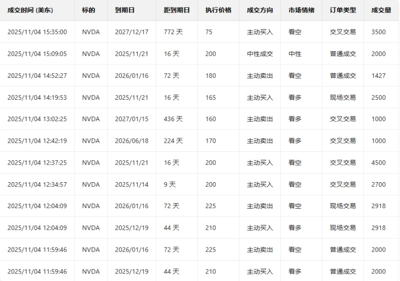
In the lead-up to the market close, the battle between long and short positions in options trading was intense.

2. Palantir fell 7.94% in the previous trading day. The put/call ratio declined slightly the day before, while trading volume increased.
Observing large, unusual order movements in options trading, the market was predominantly bullish before the close.

Top 10 US Stock Options Trading Volume Ranking

Top 10 US Stocks by Implied Volatility (Underlying Asset Market Cap > $10 Billion, Options Trading Volume > $100,000)

III. Top Ten US Stock ETF Options Trading Volume Ranking

Top 10 US Stock ETFs by Implied Volatility (Based on: Market Cap > $10 billion)

(Article source: Hafu Securities) )