I. Overview of US Stock Index Options
Trading volume in the US stock index options market has increased slightly, while the put/call ratio has declined, indicating a continued retreat of short sellers.
The volume distribution of S&P 500 index options expiring today shows a divergence between call and put order distributions, with put orders peaking at 6850 points and call orders peaking at 6950 points.
Nasdaq contracts expiring today 100 Index Options Trading Volume Distribution: Call single peak at 25900, Put single peak at 25700.
II. US Stock Options Trading Volume Ranking
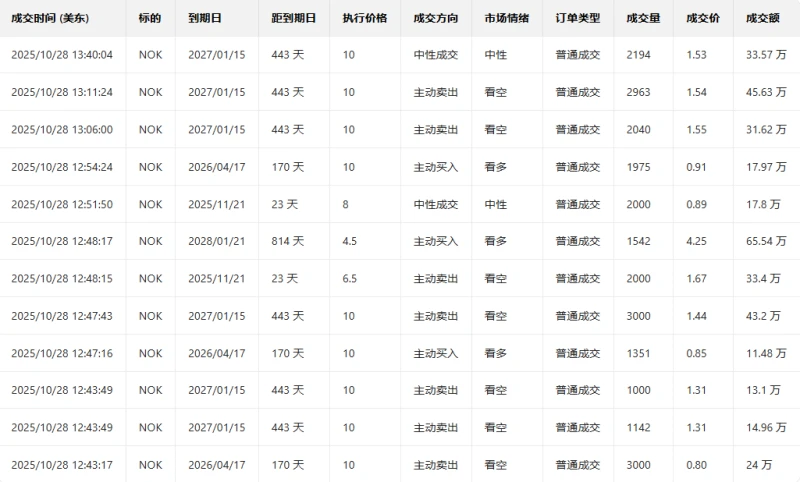
1. Nokia The stock rose 22.84% in the previous trading day. The put/call ratio rose slightly the day before, and trading volume increased significantly, indicating strong bullish momentum.
Looking at the call orders expiring this Friday, the highest increase exceeded 44 times.

Observe the large orders with unusual activity in options trading; near the close of the market, large investors are mainly bearish.

In terms of news, Nvidia Nvidia will acquire approximately 166 million Nokia shares at $6.01 per share, gaining a 2.9% stake. The two companies will collaborate on 5G and 6G network software and AI infrastructure. Nvidia launched its Aerial RAN Computer Pro computing platform for 6G networks, and Nokia will expand its RAN product portfolio based on this, launching new AI-RAN products. T-Mobile will partner with both companies, planning to begin field testing of AI-RAN technology in 2026, integrating the technology into its 6G development process.
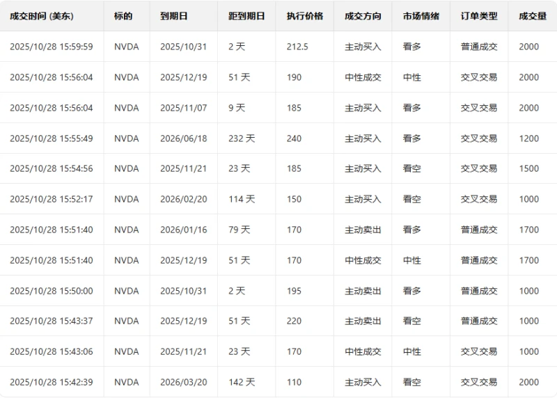
2. Nvidia rose 4.98% in the previous trading day. The put/call ratio increased significantly the day before, and trading volume increased, indicating strong bullish momentum.
Looking at the call orders expiring this Friday, many have seen price increases of over 200%.

Observe the large orders with unusual activity in options trading; near the close of the market, large investors are mainly bullish.

Top 10 US Stock Options Trading Volume Ranking

Top 10 US Stocks by Implied Volatility (Underlying Asset Market Cap > $10 Billion, Options Trading Volume > $100,000)

III. Top Ten US Stock ETF Options Trading Volume Ranking

Top 10 US Stock ETFs by Implied Volatility (Based on: Market Cap > $10 billion)

(Article source: Hafu Securities) )